• 未来的Apple Vision Pro或可实现模块化与可升级设计
  • 发布于 1个月前
  • 146 热度
    0 评论
  • 余归
  • 1 粉丝 36 篇博客
  •   

堆代码讯 一直以来,Apple Vision Pro 的重量和续航,都是不少用户纠结的点:想要更轻的佩戴体验,就要牺牲续航?想要更强的功能,就要更重的机身?现在,苹果的一项新专利,给出了一个全新的解决方案:把 Vision Pro 做成模块化的可定制设备,用户可以根据自己的需求,随时更换电池、屏幕、传感器这些部件,轻重、续航、功能,全都自己选。

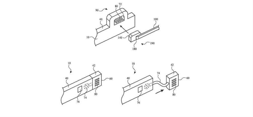
这项名为 “具有可连接配件的头戴式设备” 的新专利,已经正式获得了美国专利商标局的批准。这份长达 28 页、附带 14 幅附图的专利文件,详细描述了苹果对未来 Vision Pro 的构想:这款头显的主机,不需要把所有用户可能用到的功能,都做成永久性的内置组件,而是可以通过外接配件,按需扩展能力。

正如专利中所说的:“通过使用一个或多个配件设备,头戴式设备可以获得扩展和可定制的能力。配件设备和 / 或外部设备可以轻松连接,以便在不同时间按需提供不同的组件和功能。”


一.终于不用妥协:轻重、续航,用户自己选

这意味着,用户终于不用再为 “鱼和熊掌不可兼得” 而烦恼了。比如,很多用户都希望 Vision Pro 能更轻,但是更轻的机身往往意味着更小的电池,更短的续航。现在,苹果把选择权交给了用户:你可以在家用的时候,装上大容量电池,搭配高分辨率的屏幕,享受沉浸式的体验;出门的时候,换成小容量的轻量电池,把重量降下来,换取更轻便的佩戴体验,哪怕续航短一点也没关系。


专利里就举了这样的例子:“同一用户在不同时间可能希望拥有不同的功能。例如,某位用户可能希望在家使用高分辨率显示屏,而在户外时希望拥有长电池续航。”


换句话说,苹果不用再强行做一款 “平衡” 的产品,而是让用户自己来平衡:你想要轻,就选轻的配件;想要续航,就选续航的配件;想要高分辨率,就换高分辨率的屏幕,所有的选择,都由用户自己来做。


二.专业用户的福音:按需加装专用传感器

除了普通用户的日常需求,这个模块化的设计,还能给专业用户带来全新的可能。比如,科研、医疗领域的用户,可以给 Vision Pro 装上专用的传感器、更高精度的摄像头,用来做科学研究、医疗影像查看这些专业工作。要知道,这些专业的功能,如果苹果把它们做成内置组件,成本会非常高,大部分普通用户根本用不上,商业上完全不可行。但是做成外接配件就不一样了:有需求的专业用户,单独购买这些配件就可以,普通用户则不用为用不上的功能买单。


而且,这些专业配件,还可以利用和开发者连接器一样的高带宽,满足医疗、制造这些领域对性能的极高要求。这也能极大地拓宽 Vision Pro 的市场,让它从一款面向普通消费者的娱乐、办公设备,变成可以覆盖专业领域的通用平台。


三.未来的 Vision Pro:一个可定制的基础框架

那么,这些配件会以什么样的形式推出呢?苹果显然不会直接在 Vision Pro 里附赠低分辨率的屏幕或者小电池,等着用户去换。更现实的情况是,这些可更换的组件,都会作为单独的付费配件来销售。目前,Vision Pro 还没有类似 “Made for iPhone” 的第三方配件认证计划,所以短期内,这些配件大概率都是苹果自家的,就像 iPad 的智能接点配件一样,由苹果官方推出不同的组件。但如果未来苹果选择向第三方开发者开放这个接口,那么 Vision Pro 的配件生态,会变得更加丰富,整个设备的市场潜力也会被彻底打开。

本质上,未来的 Vision Pro,会变成一个 “基础框架”:用户买了这个基础的主机框架之后,再根据自己的需求,搭配不同的配件,组装出属于自己的定制版 Vision Pro—— 这和专利附图里描述的,各种配件连接到主框架的设计,完全吻合。这项专利的发明人共有六位,其中首席发明人 Darshan R. Kasar,此前就已经申请过和 Vision Pro 可拆卸支撑配件相关的专利,显然,苹果对模块化的头显,已经研究了很长时间。


对于 Vision Pro 来说,模块化的设计,无疑解决了一直以来的痛点:重量、续航、功能,终于不用再互相妥协。而这也让我们看到,苹果正在试图把 Vision Pro,从一款固定的产品,变成一个可扩展的平台,让它能满足更多不同用户的需求。
用户评论